Maxim’s portfolio includes DeepCover secure authenticators and 1-Wire memory devices
Medical Electronics
Content related to medical electronics
Stretchy heart monitor tattoo measures electrical and mechanical body signals
Electrocardiograph and seismocardiograph readings can be taken simultaneously by an e-tattoo, according to the University of Texas at Austin – seismocardiography (SCG) is a measure of chest vibrations associated with heartbeats. “We can get much greater insight into heart health by the synchronous collection of data from both sources,” said Austin engineer Nanshu Lu. The active part is a serpentine mesh ...
105 dc-dc PSUs for 2xMOPP medical use
Powerbox has introduced 15W, 20W and 30W board-mount dc-dc converters for medical applications. Including a total of 105 models, PMM15, PMM20 and PMM30 are certified to the 3rd Edition of the IEC/EN/ANSI/AAMI ES 60601-1 medical safety standard and include 2xMOPP – two means of patient protection. Clearance and creepage distance are 8mm, typical leakage current is 2µA and they offer ...
300W and 1kW PSUs for medical and industrial have long-distance comms interface
Cosel has released 300W and 1,000W power supplies with extended communications I/O for medical and industrial applications. 300W PCA300F and 1kW PCA1000F have been added to the existing 600W PCA600F. The PCA series have a built-in extended-UART interface supporting up to 83 commands to monitor and control power supply parameters, and PMBus versions are to follow in Q4. Complying with ...
IC can detect cancer from a drop of blood
Toray Industries of Japan may have done what scandal-hit Silicon Valley firm Theranos failed to do – found a way of detecting cancer from a single drop of blood. Toray has developed an IC that can detect certain microRNA that occurs with cancer. Cancer cells produce different kinds of microRNA which are specific to a particular type of cancer, allowing ...
In case of emergency, grab a solar suitcase
A solar-powered suitcase has won the 2019 Edison Award for Social Innovation. The Solar Suitcase was originally developed by the We Care Solar project and this third reiteration was enhanced by Arrow. In many developing nations, mothers and babies are put at risk in delivery rooms due to either lack of electricity or sudden power cuts. The World Health Organization ...
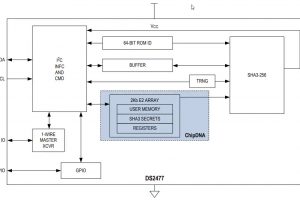
Chip combines secure hash algorithm and PUF to protect IoT, industrial and medical
Maxim’s DS2477 secure co-processor is intended to protect industrial, medical and IoT applications with authentication and physical security. “It is a secure I2C co-processor with built-in 1-Wire master that combines FIPS202-compliant secure hash algorithm [SHA-3] challenge and response authentication with Maxim’s ChipDNA feature to provide protection against security attacks,” said Mouser, which is stocking the part. ChipDNA is Maxin’s brand for ...
20W medical dc-dc converters have 2x MOPP
XP Power has launched a range of 20W dc-dc power modules with international agency approvals for medical and healthcare applications. The series, called JHM20, is particularly intended for use where a reinforced (two measures of patient protection – 2x MOPP) safety isolation barrier is needed – including patient contact and patient vicinity applications. Certified is by both UL and TUV, and ...
Taiyo Yuden offers Li-ion capacitors to combine battery and super-cap behaviour
Taiyo Yuden to offer 'lithium ion capacitors'. Operation is over -25 to 85℃
Imec on Health
The first in a series of Imec essays on the future of electronics technology looks at health.
Electronics Weekly